如图所示的实验装置来测定重力加速度,同时研究重物在下落过程中机械能是否守恒.他认为如果实验中测量重力加速度的相对误差(|真实值-测量值|真实值×100%)不
问题描述:
如图所示的实验装置来测定重力加速度,同时研究重物在下落过程中机械能是否守恒.他认为如果实验中测量重力加速度的相对误差(| |真实值-测量值| |
| 真实值 |

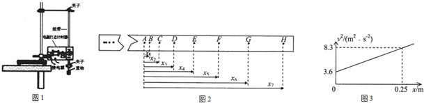
(1)该同学在一次实验中得到了如图2所示的纸带,他选取了纸带上清晰连续的8个实际的点来进行数据分析,这8个点分别标记为A、B、C、D、E、F、G、H,各点与A点的距离已在图中标出.已知打点计时器所用交变电流的频率为f,则G点速度的表达式为___.
(2)该同学用同样的方法继续算出B、C、D、E、F的速度,作出了如图3所示的v2-x图,由图可得重力加速度的测量值为g=___m/s2.
(3)如果当地的重力加速度的实际值为g0=9.80m/s2,通过计算相对误差可知重物下落过程机械能___
(填写“守恒”或“不守恒”).
最佳答案: (1)G点的瞬时速度等于FH段的平均速度,则有:vG=
| xFH |
| 2T |
| (x7-x5)f |
| 2 |
(2)根据速度位移公式v2-v02=2gx得:v2=v02+2gx,可知图线的斜率k=2g=
| 8.3-3.6 |
| 0.25 |
(3)相对误差为:
| |真实值-测量值| |
| 真实值 |
| 9.80-9.40 |
| 9.80 |
故答案为:(1)vG=
| (x7-x5)f |
| 2 |
版权声明
声明:有的资源均来自网络转载,版权归原作者所有,如有侵犯到您的权益
请联系本站我们将配合处理!
