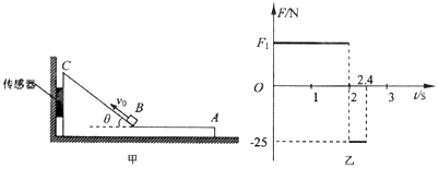
如图甲所示,带有斜面的木块放在光滑水平地面上,木块水平表面AB粗糙,斜面BC表面光滑且与水平面夹角为θ=37°,木块左侧与竖直墙壁之间连接着一个力传感器,当力传感器受压时,其示
问题描述:
如图甲所示,带有斜面的木块放在光滑水平地面上,木块水平表面AB粗糙,斜面BC表面光滑且与水平面夹角为θ=37°,木块左侧与竖直墙壁之间连接着一个力传感器,当力传感器受压时,其示数为正值,气力传感器被拉时,其示数为负值.一个可视为质点的质量为m=5kg的滑块从B点以初速度v0沿斜面向上运动,运动过程中,传感器记录到的力与时间的关系如图乙所示,已知斜面足够长,设滑块经过B点时无机械能损失.g取10m/s2.求:
(1)图乙中F1的数值大小;
(2)滑块的初速度v0;
(3)水平表面AB的长度.
最佳答案: (1)质量为m=5kg的滑块沿斜面向上运动时的加速度大小为:a1=gsinθ=6m/s2,
水平方向的分加速度为ax=a1cosθ=6×0.8m/s2=4.8m/s2;
水平方向斜面对滑块的作用力为F′1=max=5×4.8N=24N,
根据牛顿第三定律可得:F1=F′1=24N;
(2)经过时间t=2s到达最高点,根据速度时间关系可得:
v0=a1t=6×2m/s=12m/s;
(3)根据图象可知,滑块在水平部分运动的摩擦力大小为f=25N,
根据牛顿第二定律可得加速度大小为:a2=
| f |
| m |
| 25 |
| 5 |
滑块在水平部分运动的时间为:t′=2.4s-2s=0.4s,
根据位移时间关系可得:LAB=v0t′-
| 1 |
| 2 |
| 1 |
| 2 |
答:(1)图乙中F1的数值大小为24N;
(2)滑块的初速度为12m/s;
(3)水平表面AB的长度为2m.
版权声明
声明:有的资源均来自网络转载,版权归原作者所有,如有侵犯到您的权益
请联系本站我们将配合处理!
