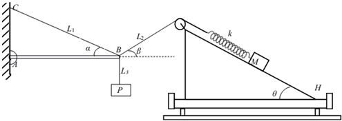
如图,AB是一根带铰链的轻质细杆,呈水平状态;三段轻绳的结点为B,轻绳L1与AB的夹角α=30°,其一段固定于墙壁上的C点,另一端系于B点,细绳L2的一端跨过定滑轮与原长为l0=12cm、劲度系数
问题描述:
如图,AB是一根带铰链的轻质细杆,呈水平状态;三段轻绳的结点为B,轻绳L1与AB的夹角α=30°,其一段固定于墙壁上的C点,另一端系于B点,细绳L2的一端跨过定滑轮与原长为l0=12cm、劲度系数为k=400N/m的弹簧相连,弹簧另一端连接物体M,物体M静止于倾角为θ=37°,摩擦因数μ=0.5的斜面上,斜面固定于一个机械平台H上,平台的高度以及离墙竖直壁的距离均可以通过平台调节;细绳L3下端挂有质量mp=4kg的重物P.当调节平台,使a=β时,轻质细杆AB的上的弹力恰好为零.
(1)求此时细绳L2上的拉力大小以及弹簧的长度.(2)要使物块M静止在斜面上,则物体M质量的取值范围;(3)把物体M固定于斜面,在保证结点B的位置不变且轻质细杆AB弹力仍恰好为零的情况下,通过调节平台可使细绳L2的拉力最小.求此时细绳L2对结点B的拉力.
最佳答案: (1)由于a=β,由受力分析可得L1和L2上的拉力大小相等,即 T1=T2,由于L1和L2的夹角为120°,则得 T1=T2=mpg=40N弹簧的弹力 F=T2=40N根据胡克定律:F=kx,得 x=0.1m则弹簧的长度为 l=l0+x=0.12+0.1=0.22m=22cm(2)当物体所受的摩擦力方向沿斜面向下且恰好达到最大静摩擦时,设此时物体的质量为m1.则有 T2=μm1gcosθ+m1gsinθ解得 m1=4kg当物体所受的摩擦力方向沿斜面向上且恰好达到最大静摩擦时,设此时物体的质量为m2.则有 T2+μm2gcosθ=m2gsinθ解得 m2=20kg故物体M质量的取值范围为 4kg≤M≤20kg(3)根据三角形定则可知,当两条细绳相互垂直时,即β=60°时L2的拉力最小最小拉力为 T2min=mPgcos30°=20
| 3 |
| 3 |
版权声明
声明:有的资源均来自网络转载,版权归原作者所有,如有侵犯到您的权益
请联系本站我们将配合处理!
