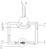
如图是人体内气体交换过程示意图,据图分析回答问题:(1)呼吸全过程包括四个环节,(一)与之间的气体交换(即肺的通气)(二)与的气体交换(三)气体在血液中
问题描述:
如图是人体内气体交换过程示意图,据图分析回答问题:(1)呼吸全过程包括四个环节,(一)______与______之间的气体交换(即肺的通气)(二)______与______的气体交换(三)气体在血液中的运输,(四)______与______的气体交换.煤气中毒是第______个环节发生障碍,呼吸肌被麻痹造成的呼吸中止是第______个环节发生障碍.
(2)A内流动的是______血,C内流动的是______血,在肺泡这一部位发生的气体交换过程是:a______由肺泡进入______,b______由血液进入______这个气体交换的过程通过______作用来实现的.
最佳答案: (1)呼吸全过程包括四个环节,依次是肺的通气→肺泡内的气体交换→气体在血液中的运输→组织里的气体交换四个过程.肺的通气,是肺与外界之间的气体交换;肺泡内的气体交换,是肺泡与血液之间的气体交换;气体在血液中的运输,是指氧气和二氧化碳在血液循环中的运输过程;组织里的气体交换,是血液与组织细胞之间的气体交换.
当人处在一氧化碳浓度较高的地方就会发生中毒,一氧化碳和氧气可以同时通过肺的通气进入肺,再通过肺泡内的气体交换进入血液,氧和一氧化碳都能与血红蛋白结合,而一氧化碳与血红蛋白的结合能力大得多,就使更多的血红蛋白与一氧化碳结合,又因为一氧化碳与血红蛋白结合后分离极慢,而血红蛋白的数量是有限的,这样,就使氧失去了与血红蛋白结合的机会,而不能被血液运输到组织细胞,造成组织细胞缺氧.因此,煤气中毒是第二个环节发生障碍.
呼吸运动是呼吸肌的收缩和舒张引起胸廓扩大和缩小来完成的,呼吸运动的结果实现了肺的通气,即肺内气体与外界气体进行交换.参加呼吸运动的肌肉主要有膈肌、肋间肌等呼吸肌.因此,呼吸肌被麻痹造成的呼吸中止是第一个环节发生障碍.
(2)从外界到肺泡内的气体氧气浓度高于肺泡毛细血管内的,毛细血管中二氧化碳的浓度高于肺泡内的浓度,根据气体扩散作用的原理,气体总是由浓度高的地方向浓度低的地方扩散,在人体由于肺泡处氧的浓度高,而周围血液中二氧化碳的浓度高,于是肺泡中的氧气就扩散进入血液,血液中的二氧化碳就扩散进入肺泡,从而完成了肺泡里的气体交换.这样血液由A肺动脉送来的含氧少、二氧化碳多的静脉血变成了C肺静脉运走的含氧多二氧化碳少的动脉血了.因此A内流动的是静脉血,C内流动的是动脉血.
故答案为:
(1)肺;外界气体;肺泡;血液;组织细胞;血液;二;一;
(2)静脉;动脉;氧气;血液;二氧化碳;肺泡;气体扩散
版权声明
声明:有的资源均来自网络转载,版权归原作者所有,如有侵犯到您的权益
请联系本站我们将配合处理!
